尊敬的合作伙伴及客戶朋友們:
近期,國家信息安全漏洞共享平臺頻繁發布針對舊版Windows系統的安全預警,為確保廣大用戶的數據安全與業務連續性,金萬維公司發布重要公告:自2025年3月1日起,將對運行在未滿足安全要求的Windows系統上的異速聯產品實施暫停使用措施。作為金萬維的官方合作伙伴,我們第一時間為您梳理關鍵信息并提供應對方案,助您平穩過渡,規避風險!
為何必須立即行動?
1、安全威脅迫在眉睫
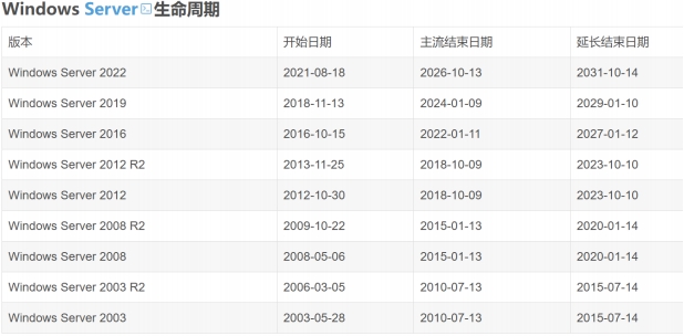
異速聯依賴Windows遠程端口運行,而微軟已停止對舊版系統(如Windows Server 2008/2012等)的安全補丁更新,系統漏洞可能被惡意攻擊者利用,導致數據泄露或業務中斷。
2、合規與業務連續性要求
使用已終止支持的Windows系統可能違反企業安全合規要求,且一旦服務暫停,將直接影響日常運營。
兩大解決方案!
Option one:將異速聯服務器端Windows操作系統升級至Windows server 2016及以上版態
適用場景:希望保留現有異速聯產品,僅需系統升級的用戶操作步驟:
1、將服務器操作系統升級至Windows Server 2016以上版本
2、安裝官方提供的“異速聯補丁包“for win2016x”(升級后自動恢復服務)
優勢:成本可控,無需更換產品,滿足基本安全需求
Option Two:升級異速聯產品至天聯online加速版(推薦)
適用場景:追求更高安全性、穩定性與體驗的企業用戶核心升級亮點:
零端口暴露:集成VPN功能,無需開放Windows遠程端口,徹底消除端口攻擊風險;
性能飛躍:訪問速度提升30%以上,支持高并發場景,穩定性大幅優化;
無縫兼容:支持云端/本地混合部署,適配各類業務系統,平滑遷移無壓力。
優勢:一步到位解決系統與產品的雙重安全隱患,為企業構建未來5-10年的安全底座。
常見問題解答
是的!該版本已于2023年10月10日終止支持,無法獲得安全更新,需盡快升級至2016或更高版本。
無需重構!天聯加速版兼容原有異速聯配置,支持快速遷移,賽思德技術團隊將全程協助。
請聯系您熟悉的經營人員或撥打賽思德全國技術支持熱線:
0731-82199263
我們將提供一對一方案規劃。
數據無價,安全為先
選擇賽思德,就是選擇一份長期可靠的技術承諾,讓我們攜手筑牢安全防線,共贏數字未來!

掃一掃咨詢微信客服